1/7

【特価商品】ロブテックス シャコ万力 B75V B75V

¥2,576 税込

なら 手数料無料の 翌月払いでOK

この商品は送料無料です。

ご覧いただきありがとうございます。
当店は全国一律送料無料でお届けしております。

以下商品説明文です。

================
【商品名】
ロブテックス シャコ万力 B75V B75V
【商品説明】
アゴの深さ(mm):46.5
おねじ六角対辺(mm):17
最大口開き(mm):77.0
締圧力(kN):-
ダークブルー焼付塗装
バーコ型
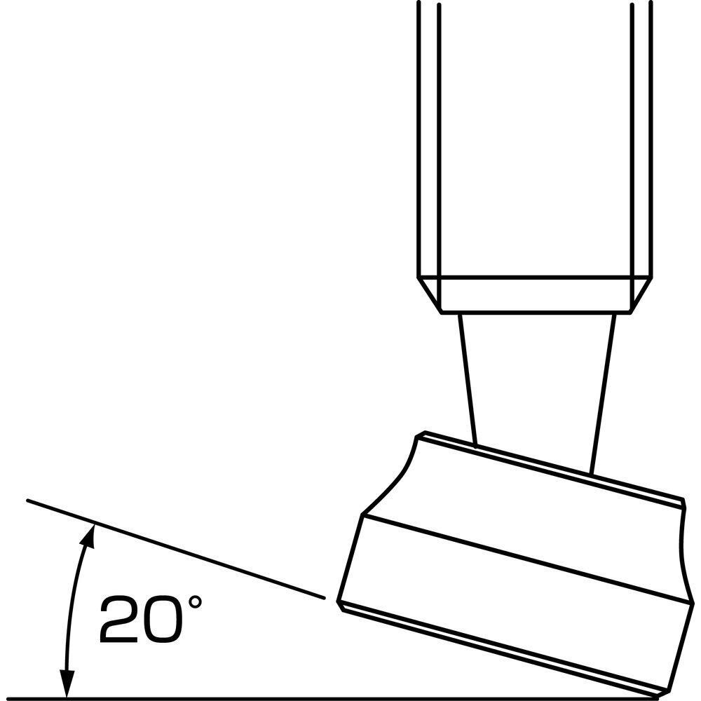
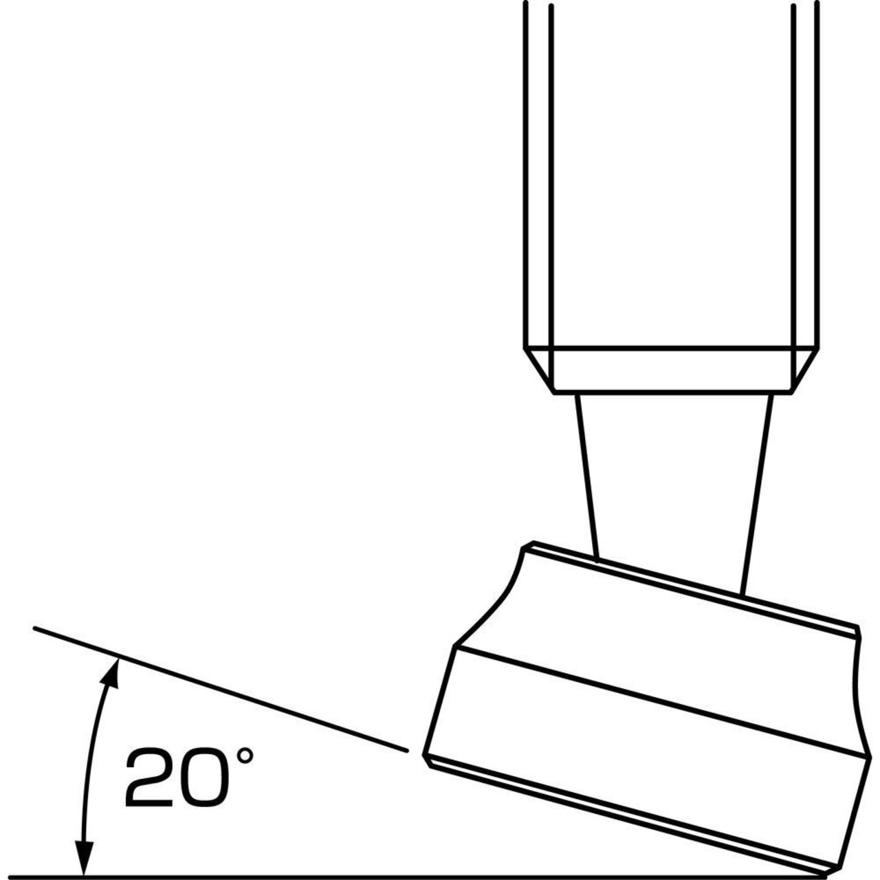
●皿部分の首振角度が20°です。●皿は取り替え可能です。●軸頭部はレンチで締め付けられる六角形です。

商品をアプリでお気に入り
  • 送料・配送方法について

  • お支払い方法について

¥2,576 税込

送料無料

最近チェックした商品
    その他の商品